Become A Sponsor   |   Why Ads


Baloo's Bugle

December 2007 Cub Scout Roundtable Issue

Volume 14, Issue 5
January 2008 Theme

Theme: Cub Scout Car Show
Webelos: Fitness & Scientist
Tiger Cub Requirement 3

PACK AND DEN ACTIVITIES

Advancement Ideas
Carol, Black Swap area Council, Ohio

Tigers |

Ach 1F, 2F, 2G,

Elect. 3, 10, 11, 17, 48

Wolf-

Ach 6, 9C, 9D

Elect. 8, 11C

Bear |

Ach 13D, 15B, 20A, 21A, 21B, 21C, 21D

Elect. 7

Alice, Golden Empire Council

Boys on all levels could work on the Positive Attitude Character Connection.  Reviewing the motto, "Do Your Best" is also a good idea. Boys may need help in being good sports and feeling good about their own work if you have the Pinewood Derby this month.  Have clear and simple rules for the derby cars and how they are to be built, and make sure everyone understands them before the cars are given out.  If there are boys without an adult to help, or access to tools, pair them up with an adult | or sponsor a workshop for all the parents and boys to help them get started.  Emphasize the value of learning new skills and using personal creativity over who wins the race.  Give a "Good Sportsmanship" award.  Give ribbons to every boy, with each car getting noted for something: brightest paint color, most original, etc.

Tiger Achievements:
Ach. #1D |visit a car museum or a display of cars, old or new; #2F | if you choose or draw a map of your neighborhood | you could use toy cars to "travel" from place to place

Tiger Electives:
Elect. #2 | make decorations for the Pack meeting | flags, racing cars, pennants, signs such as Pit Stop for refreshment table; Elect. #11 | begin the New Year right by collecting for local food banks or charities that will have few supplies left after the holidays; Elect. #14 | read a book or article about cars, racing or building a car;  Elect. #15 | experiment with primary colors to make the colors you want to use on your Pinewood Derby car;   Elect. #17 | make your pinewood car or another model;  Elect. #25 | make one of the Cub Grub snacks for your den or family;   Elect. #48 | take a ride on public transportation, and compare it with using a car; 


Wolf Achievements:
Ach. #5 | learn about tools, especially what you would use to make your Pinewood Derby car, and make a stand to display it;  Ach.#6a | work on the Positive Attitude Character Connection; Ach. 6b, c | if you have a collection of cars;  Ach. #9d | review the rules of street and road safety;  Ach. #10d | if you choose a book about cars or racing; 

Wolf Electives:
Elect. #2 | if your den does a skit. Elect. 3 -use

these to help cut or carve your car;  Elect. #5g, h, I | make a model car; Elect. #8a,b,c | learn about how wheels are used | try making the bottle racer in this packet;  Elect. #12c | mix colors while choosing what to paint your derby racer;  d-f | make posters, signs and scenery for the pack meeting;  Elect. #16c | if your den or pack choose to make or update family first aid kits for the car

Bear Advancements:
Ach. #9b | if you make a snack for the den meeting from Cub Grub;  Ach. #10a | visit a car museum or a history museum with a display of cars;  Ach. #11c,d | Review what to do in case of an accident in a car or bus | make sure your car is safe and has supplies and equipment for an emergency;  Ach. #13d | pretend to shop for a family car and learn about what to look for and compare;  Ach. #15b,c | play some games from this packet;  Ach. #17d | get some information about cars, racing or building a model;  Ach. #20a | become familiar with tools, especially those you will use to make your pinewood car;  Ach. #21 a, b, f | Build a model and/or a stand or display for it;  Ach. #23d | if you watch a professional car race;  or #23e, attend a professional car race or event; 

Bear Electives:
Elect. #7 | make a scooter or Cubmobile and know the rules of safety or make an invention of your own that goes, such as the Bottle Racer;  Elect. 22b, c | if you have a car collection or a library about cars or models;  Elect. #23 | use maps to explore how to travel to another location, or to map out the route to take on a family trip.

Ideas For Pack Activities:
Baltimore Area Council

  • Have a Boxcar Derby
  • Have a Pinewood Derby Race
  • Visit a Police or Fire Station
  • Show and Tell | models and miniature car collections

Ideas For Den Activities:
Baltimore Area Council

  • Build a snowman
  • Make Pine-Cone treats for the hungry birds
  • Go to a local ice skating rink
  • Start a collection of model or miniature cars
  • Make Race-car neckerchief slides
  • Make Pinewood Derby Car Display Stand

Den & Pack Meeting Activities:
Alice, Golden Empire Council

Invite a policeman or safety expert to come talk to the Den or Pack about how to travel safely in a car.

Sponsor a safety check with your local police department | checks could be made to assure seat belts, car seats are installed and working properly.

Invite a mechanic to come and share basics of how a car works or some simple maintenance and safety checks

Update the First Aid kit used for den activities and field trips | make sure you have current information and supplies that might be needed.

Invite families to make emergency boxes for their vehicles, including items needed such as:  flares, jack, battery cables, emergency air for tires, etc.  Also a kit in case of accident or car

breakdowns | first aid items, some hard candy, meat sticks, water and cups, blanket, first aid supplies, list of phone numbers, extra diapers or medications, rain ponchos or sweaters, small toys, games or drawing pads to keep kids occupied while they wait.  The Red Cross, local government and fire department can provide brochures and information on what to have on hand and how to use it.  This would be an excellent service to your pack families as we enter the season where natural disasters can impact family safety.

Create a list of things to keep in the family car, including insurance information, flashlight and extra batteries, small tools such as screw drivers, battery cables, work gloves, etc.

Visit a "Safety City" if there is one in your area.

Visit a local museum devoted to cars old or new.

Check with local car clubs, racing associations, etc. for large photos or models of cars, racing flags, pennants, to decorate your pack meeting.

ARTFUL CARS
Great Salt Lake Council

Have a car show and race. Have each boy decorate a toy car (Hot Wheel/Matchbox size). You can supply one, or he can use his own. These can be decorated at the activity or prior to it. You may also want them to make a way of displaying it, such as a cardboard platform and backdrop. Let everyone "tour" the show with 3 or 5 anonymous judges choosing cars for different categories. If desired, you can let the boys know there will be judging and what the categories are when you announce the activity. The boys should try to be creative using tacky or hot glue to attach small objects such as beads, feathers, googly eyes, pipe cleaners, sand, sequins and buttons. Remember to keep the wheels movable if racing. There are no limits on size or weight, except original size of car. Be sure to let the glue dry completely before showing, or racing the automobiles.

After the show the cars can be raced down a simple incline. The winner is the car that goes the farthest.


CUB-anapolis 400
Commissioner Dave

CUB-anapolis is a great fun event.  We do it at my Webelos Resident camp and every year it turns out different.  There is a great description of how to do it in the Cub Scout "How-To" Book on page 6-18. 

The event can be run an individual basis with each Cub and his family making a car and his family being the pit crew or by Dens (how we do it in Webelos Resident Camp) with each Den making a car and the den becoming the pit crew.  When done this way, be sure to rotate drivers so every boy gets a chance.

You can hold your race inside in a gym or other large room or outdoors on a field.

Some packs are requiring bicycle helmets.  This is probably a good idea for safety and adds to the theme as racers wear safety helmets.  And should be easy as anyone with a bicycle has to have a helmet.

A key to success is having fun pit stops. 
Some ideas include -

  • Clean the windshields - All drivers have goggles on and another Cub washes the goggles with a spray bottle of water (NO Soap or detergent or glass cleaner)
  • Rotate tires - Cubs take off shoes and switch their socks to the other foot
  • Fuel Up - Have the driver drink a specified amount of water
  • Change Drivers - give every one a turn
  • What can you think of doing????

Photos from Pack 813, Dayton

CUB-anapolis 400 Hints
Pack 358, Barrington, NH
http://www.pack358.us

What does a scout need for a CUB-anapolis race?

  • A Cub-anapolis Car. Cars should be made from a cardboard box. Make sure the box is not too big for the Scout. Boys need to be able to run while carrying the box.
  • A pit crew (at least two people)
  • A small towel or washcloth
  • A pair of lace-up sneakers with socks (no Velcro or slide on)

What's a CUB-anapolis???

  • The cub carries his box and runs from start line to the finish line.
  • A typical race is 3 laps.
  • On each lap, the Cub will pull in for a pit stop
  • On each stop, your crew will be asked to perform one of the following tasks:

Clean your windshield

Change your tires

Refuel

  • After the action is complete - the cub picks up his car again and race back the finish line.

How to Build Your "Cub-anapolis" Car

  • Pick the right size cardboard box to fit the scout.

Normally a box that is 12"-18" wide, 12" high and 24"-36" long. (A copy paper box is great.)

Body of car must be constructed of cardboard.

Use a box that fits around the boy without being either too snug or too loose.

  • No metal or glass materials may be used.
  • No items can be hanging or dragging behind a car
  • For safety reasons, cars should not have a ewindshield'

  • Cut out the top and the bottom of the box so the scout can stand in the box and pick it up to his waist.

Leave about 2" of the top and bottom at each end to strengthen the box.

Cut 2 holes in the side of the car to use for carrying the car during the race.

  • Make 4 wheels for the car.

  • Assemble car with glue or tape. Please assemble the car in a manner to be safe for the scout

Cut 2 holes in the side of the car to use for carrying the car during the race.

Decorate and paint the car as desired. (Be original)

Tape, tinfoil, paint, construction paper, stickers and paper plates can also be used for decoration.

CUB-annapolis
Capital Area Council

Use a cardboard box and straps or suspenders to make a racer, as shown above. The boy provides the "wheels" to make the car go. The whole den works on the vehicle ahead of time with the fastest boy providing the "power" for the vehicle.

Of course, you don't want to make this too easy, so you add a pit stop (See below for ideas)  and GO as well as some areas of tight maneuvers, backing up and fast straight-aways. Change drivers a few times and you have an excellent race for the whole pack.

Add awards for vehicles such as Best Design, Sleekest, Most Excellent, etc. 

SCENARIOS 

After lap 1 |    Windshield wash (wash goggles)

After lap 2 |    Tire change (Remove shoes and socks, turn socks inside out, replace socks and shoes

After lap 3 |    Refuel (Drink one small bottle of Root Beer) 

Dens should ensure that each race car driver has the following accessories:

  • Goggles for the car driver (sunglasses, safety glasses, etc) - these must be worn during the race.
  • Spray bottle filled with only water (may be shared)!!
  • 8 ounce Styrofoam cup and a small jug of water to fill the cup with

The RACETRACK will be laid out with orange cones in whatever pattern the leadership decides to set up...

The race format is as follows:

  • START: each racer will run one lap then go to his dens pit stop area.
  • 1st pit stop: the pit crew will clean the driver's windshield (Goggles) with the water spray bottle. Once the goggles are cleaned, they must be dried too.

REMEMBER! DRIVERS ARE ONLY PERMITTED DRIVE THE CAR - They cannot do ANYTHING TO HELP THE PIT CREW!!

  • Once the goggles are dried, the driver may get back into the race and complete one more lap, then pit again.
  • 2nd Pit stop: The Pit crew must refuel the driver by filling the Styrofoam cup full of water and the driver must drink the ENTIRE cup (without spilling it) before entering the race again.

AGAIN, KEEP IN MIND THE DRIVER CANNOT DO ANYTHING TO HELP THE PIT CREW! THEY MUST HOLD THE CUP WHILE THE DRIVER DRINKS THE WATER!!

  • Once the car is re-fueled, they may enter the race and complete another lap - then pit again.
  • 3rd pit stop: The Pit crew must change the tires on the car!! To do this, the pit crew must remove the driver's shoes - then remove his socks - flip the socks inside out | put the socks and shoes back onto the driver (shoes must be tied !!) and only then may the driver enter the race again.
  • After completing the third pit stop, make one more lap then return to your pit area!!
  • Once every den has completed the required pit stops, we will run the races again if there is anyone who was not afforded the chance to play - or if we just want to run again for the fun of it!!!
  • Lastly, there are only winners in this race - participation awards will be given to everyone who plays.

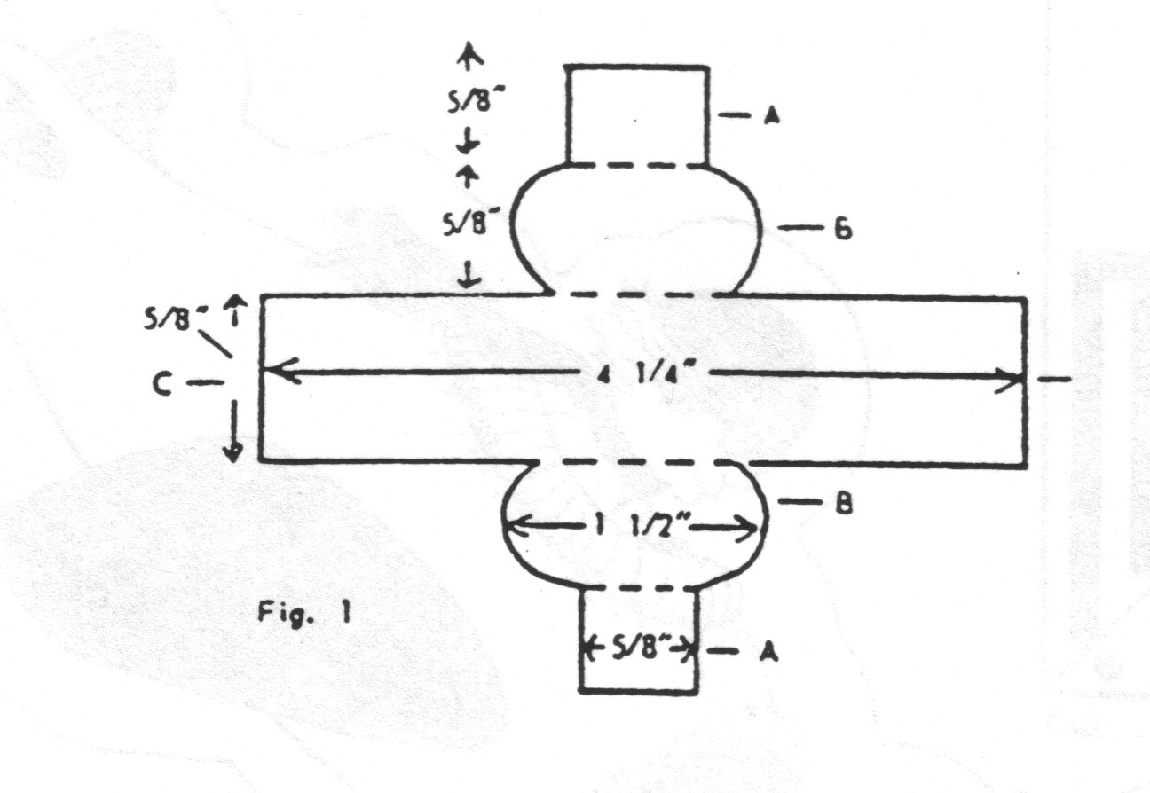
Bottle Racer
Alice, Golden Empire Council

Boys could build and race bottle racers to explore a simple machine | and an old-time toy!

See directions under Webelos Scientist.

 

LE MOUSE 500 (Mousetrap Car)
Grand Teton Council

This is a mousetrap on wheels with built-in propulsion. Something so simple and inexpensive that every Cub Scout will want to make one.

The simplicity of this racer tires the imagination. The greatest momentum can be obtained from 2-4" diameter wheels, but the mousetrap needs to be mounted on a board to prevent wobble. Rubber bands or sandpaper can be glued on the rear wheels for traction. Wind the cord the opposite direction and you have front-wheel drive.

Directions

  • Remove bait pan and hook arm from the mousetrap.
  • Cut a 1/2" deep notch at the rear axle line for easy winding of the string. (This will be at the opposite end of the snapper, and the slot should be rounded slightly and waxed or soaped.)

  • Carefully measure 1/2"  in from each end for eyelets. The wood splits easily, so drill pilot holes and screw in the eyelets carefully.
  • Insert wire axles through eyelets. Coat hanger wire may be used. Sand wire if necessary for easy turning in the eyelets. Be sure to roughen the axle where the cord will be wound to give it grip.
  • Make wheels from wood -1 1/4" diameter by 3/16" thick. They can be sawed from thin wood, or better, sliced from a dowel. Locate and drill center holes. The more accurate this is, the better the racer will run.
  • Knot string onto snapper. Do not tie the string to the axle.
  • Pull snapper back to its full extent and hold with thumb.
  • Wind string onto the rear axle until tight (Best cord is nylon, as it is springy. Cut with a hot soldering iron to prevent raveling.)
  • Set the racer on a rough surface (not a waxed floor) and release.
  • Racer should go over 8 feet. Experiment with it and make changes until it does. Try winding the cord backwards for front wheel drive.
  • You might want to mark off a board for a race track and let the boys have a race. Do not paint the track, as this will make it too slick.

Build a Clothespin Race Car
Grand Teton Council

Supplies Needed:

  • Clothespins ( plastic or wood)
  • Buttons
  • White Glue
  • Twist ties
  • Colored Tape
  • Straws
  • Scissors
  • Decorations as you like

Directions:

  • Thread a long twist tie through the button.
  • Twist and put through a piece of straw
  • Add second wheel and secure
  • Trim the twist tie ends, then make another set of wheels
  • Glue the front wheels in place and then the back wheels
  • Wrap tape behind the rear wheels for durability

 

WINDRACER
Grand Teton Council

Supplies Needed:

  • Coat Hanger Wire, 24" long
  • Pliers
  • 3 Spools
  • Large Cork
  • Thin Dowel
  • Thin cardboard
  • Hole punch
  • Masking Tape
  • Cotton thread

Directions:

  • Take the piece of thin coat hanger-type wire 24 inches long and using pliers, bend the wire as shown in the picture and put on three wood or plastic spools.
  • Push the wire end into the bottom edge of a large cork, one end on each side.
  • Sharpen an 8-inch thin dowel and push it into the cork so that It angles back.
  • Make the sail by drawing an 8-inch-diameter circle on thin colored cardboard and cut out.

  • Run masking tape across the center of the sail continuing to other side of sail. See picture above
  • Make a hole 1/2" back from the edge of the card on each end with a paper punch, See picture above
  •  Slide the sail onto the mast and glue the mast into the hole you made in the cork.
  • Secure the sail by looping cotton thread over the top of the mast and running it to the wire, tying it to the wire chassis, See picture below.

 

Pinewood Car Slide
Trapper Trails

  • Take apart a spring type clothespin
  • Glue the flat sides together
  • Cur two 1/4" thick slices off a 1/2" diameter dowel for wheels
  • Glue wheels on side toward front and back
  • Glue on a colored round bead for helmeted driver's head
  • Attach ring on back | 1" length of 3/4" PVC pipe works well but choice is yours

This slide can be used for several Wolf and Bear Achievements

 

Detergent Bottle Drag Racer
Capital Area Council

Materials:

  • plastic dish washing detergent bottle,
  • nail, hammer,
  • acrylic paints,
  • paintbrush,
  • 4 plastic bottle tops (all the same size)
  • 2 pipe cleaners or dowel rods.

Instructions

  • First make sure your detergent bottle is washed out and dry. Put the top back on the bottle.
  • Where would you like the wheels to be? It doesn't matter which side of the bottle your use for top or bottom. Carefully punch four holes for wheels into the sides of the bottle with a nail, two on each side.  Be sure to make the pairs of holes exactly across from each other.
  • Now paint the racer with acrylics. You can make it any color you like and decorate it with flames, stars, racing stripes, etc. Let it dry thoroughly.
  • Next use the nail to punch a hole in the center of each plastic bottle top.  These will be your wheel! Push a pipe cleaner through each pair of holes, in one side and out the other. Put a bottle top "wheel" on the ends of the pipe cleaners so the wheels stay on.

 

Spool 4x4
Capital Area Council

You will be surprised at how much power this little "4x4" has.  See how steep a hill you can make it climb.  All you need to make it is an empty spool, toothpicks or matchsticks, a rubber band and a small piece of soap.

Carefully drill a hole in a small piece of the soap.  Make the hole about 1/8" or a little larger, so that the rubber band will pass through it easily even when it is twisted.  You must be very careful drilling the hole or you will split the soap.  Push one end of the rubber band through the soap and loop it over a toothpick.  Push the other end through the hole in the spool and over a small piece of a toothpick.  Wind up the 4x4 by turning the long toothpick until the rubber band is tight.  Place the 4x4on the floor and watch it move along.  You and your friends can have races.


Gumball Racer
Capital Area Council

Materials:

  • 4 small gumballs
  • 1 plastic straw
  • 2 round toothpicks
  • 1 spring clothespin
  • 2 small gumballs (for chew-glue)

Instructions

  • First, pop the two pieces of "chew glue" into your mouth and start chewing
  • Cut two pieces of the straw, about 1" long. Using a toothpick, pike a hold all the way through the center of each gumball press slowly and carefully
  • To make an axle, push a toothpick through one of the straw pieces.  Poke each end through the hole in one of the gumballs and out the other side. (You might have to snip the straw pieces to make them shorter if there isn't room for wheels)
  • Clamp one axle into the front end of the clothespin Tape the other axle under the clothespin near the back
  • Wet your fingers and break off a small balls of chewed gum Mold them to the ends of the axles to keep the wheels on.

 

Candy Race Car
Capital Area Council

Need:

  • Low temp hot glue gun.
  • Ribbons or yarn for hanging
  • 1 large package of gum (1 1/4" x 3" x 3/4")
  • 4 round wrapped candies (peppermint or butterscotch)
  • 1 shiny wrapped candy about 1 1/4" long
  • 2 mini chocolate bars (1 1/2" x 1" x 3/8")

Instructions

  • Glue the shiny candy to the front of the gum pack as a bumper
  • Glue the 4 round candies on as wheels
  • Glue the 1 candy bar on the back half of the car, allowing it to stick off the back by a 1/4" or so.
  • Glue the other candy bar across the back of that candy bar having at least 1/2 of it extending past the edge of the lower candy bar. Look at the illustration above, and experiment

 

Racing Flag Slide
Trapper Trails

  • Find some small (cupcake topper size) racing flags or make some from cardstock and attach to toothpicks
  • Cut a tree cookie of appropriate diameter for your flags
  • Hot glue the flags in place on the tree cookie
  • Attach ring on back | 1" length of 3/4" PVC pipe works well but choice is yours

 

Macaroni Wheel Slide
Trapper Trails

  • Using wheel shaped macaroni |
  • Glue wheels together to forma bigger wheel
  • Spray paint
  • Attach ring on back | 1" length of 3/4" PVC pipe works well but choice is yours

Crazy Racing Roller
Alice, Golden Empire Council

Materials:

  • Colored paper
  • Glue
  • Small Marble
  • Scissors

Directions:

Enlarge the design below to the dimensions shown on colored paper.  You can also use white paper and have the boys decorate with markers BEFORE folding up their crazy racer-Alice)

Cut out the design.

LEAD Technologies Inc. V1.01

Fold Flaps A & B toward the center strip.

To form the sides, place Flaps A together and glue. 

Insert the marble between the sides; then glue the ends C and D together to form a bean-shaped roller with the marble on the inside. (Fig. 2)

LEAD Technologies Inc. V1.01

To operate your racer, release it on an inclined flat surface | it will roll down end over end with an erratic motion. 

You could also race rollers against each other.

LEAD Technologies Inc. V1.01

A ramp makes the perfect place to operate your racer.

This project takes about 20 minutes, and younger boys may require some help in folding and gluing. 

You could also use larger marbles | just adjust the size of the paper pattern. 

Marble Raceway
Alice, Golden Empire Council

This is a fun project using various materials to create a "raceway" for marbles.  It also fits with Invention Convention or Recycling themes | or with Webelos Engineer or Scientist - Alice.

LEAD Technologies Inc. V1.01

Materials: 

  • A blank wall, large piece of cardboard, or box lid
  • Cardboard tubes, paper cups, egg cartons, small boxes, margarine tubs | any kind of throw-away material that a marble could roll through or down
  • Construction paper
  • Scissors
  • Masking or Duct Tape
  • Marbles

Directions:

  • Locate a suitable wall, panel sheet, or cardboard surface to hold your raceway.
  • Make "runs" for your marble cars using tubes, boxes, long strips of folded paper. 
  • Be sure to construct side walls on your runs to keep the marbles on course.
  • Tape the "runs" to the wall or surface, making each new "run" slightly lower than the first, making a downward path.
  • Experiment with different lengths, angles, openings, chutes, turns, tunnels, zigzags or jumps.
  • Drop a marble into the opening at the top and watch gravity at work as the marble zooms, rolls and bounces along.
  • Build two side by side courses and have a marble race.  Or try using balls of different sizes and weights.  Experiment to see which will roll through faster, a Ping-Pong ball, a jacks ball, or a marble.

Your Emergency Kit on Wheels
Alice, Golden Empire Council

Every family should keep the following supplies either stored in a convenient place known to all family members.  A smaller version of the Disaster Supplies kit should be kept in the trunk of the car.  Keep items in air tight plastic bags.  Change the stored water every six months so it stays fresh (Mark the date on your calendar, perhaps the First of January and the First of July)

Also rotate out food and replace batteries, clothes and shoes for children.  Ask your pharmacist about storing prescription medications for your family (and pets)

  • Water | a gallon a day per person | in a personal pack, use smaller containers that can be discarded to keep weight down
  • Foods that don't spoil, such as hard candies, meat sticks or jerky, canned juices, milk, meats, fruits and veggies, dried fruits, high energy foods such as granola bars, trail mix, special food supplies for infants, elderly or those on special diets
  • First Aid kit | it should include sterile adhesive bandages in various sizes, 2" and 4" gauze pads, triangular bandages, roller bandages, small scissors, tweezers, needle and thread, moistened towelettes, antiseptic in disposable packages, tube of petroleum jelly, safety pins, soap, latex gloves, sunscreen, aspirin or non-aspirin pain reliever, anti-diarrhea medication, antacid, laxative, activated charcoal
  • Tools:  Mess kit, emergency preparedness manual, battery operated radio and flashlight with extra batteries, cash and change, manual can opener, utility knife, pliers, tape, compass, matches in a waterproof container, aluminum foil, flares, paper, pencil, shut off wrench for household gas and water, WHISTLE, map of area, plastic sheeting or black garbage bags, soap, personal hygiene supplies
  • Clothing:  Study pair of shoes, rain gear, space blanket, hat and gloves, sunglasses, thermal underwear in cold climates, extra outerwear if needed, change of socks
  • Important telephone numbers and family records.
  • Also keep special documents in an off-site location such as a safety deposit box or in a water/fire proof container:   Insurance policies, deeds, stocks & bonds, passports, social security cards, immunization records, band and credit card numbers, inventory of household goods, important family records, such as birth, marriage, death certificates.


Materials found in Baloo's Bugle may be used by Scouters for Scouting activities provided that Baloo's Bugle and the original contributors are cited as the source of the material.

Scouts Using the Internet Cartoon - Courtesy of Richard Diesslin - Click to See More Cartoons
© 1994-2024 - U.S. Scouting Service Project | Site Map | Disclaimer | Project Team | Contact Us | Privacy Policy

Materials found at U. S. Scouting Service Project, Inc. Websites may be reproduced and used locally by Scouting volunteers for training purposes consistent with the programs of the Boy Scouts of America (BSA), the World Organization of the Scout Movement (WOSM) or other Scouting and Guiding Organizations. No material found here may be used or reproduced for electronic redistribution or for commercial or other non-Scouting purposes without the express permission of the U. S. Scouting Service Project, Inc. (USSSP) or other copyright holders. USSSP is not affiliated with BSA or WOSM and does not speak on behalf of BSA or WOSM. Opinions expressed on these web pages are those of the web authors. You can support this website with in two ways: Visit Our Trading Post at www.ScoutingBooks.com or make a donation by clicking the button below.
(U.S. Scouting Service Project Donation)


(Ruth Lyons Memorial Donations)